[国资参股]3000股上海同百建设科技股份有限公司自然人股权新四板可线上过户
标的物属性
流转方式
转让
上市情况
非上市
企业类型
其他
企业名称
上海同百建设科技股份有限公司
标的物描述
上海同百建设科技股份有限公司成立于2009年,总部位于上海,是一家专注于绿色、安全建筑科技研发;市政工程建设;智能化施工一体化服务的国家高新技术企业,省级专精特新企业,省级创新型企业。公司注册资本1.08亿,国有资本参股,拥有64项专利及10项软件著作权,处于行业前沿,华东绿色建筑领军者,多家国有企业战略合作伙伴,上海十四五规划重点企业,深耕建筑科技领域16年。 积极响应国家“新基建”“碳中和”战略,聚焦“智能建造”与“低碳城市”双赛道,公司在绿色建筑、智慧城市等领域订单量连年增长,业务覆盖长三角地区并辐射全国。
主要客户包括中国五冶集团有限公司,上海宝冶集团有限公司,南京中冶正锦置业有限公司,上海临床研究中心,上海建工四建集团有限公司,中国十七冶集团有限公司,五矿瑞和(上海)建设有限公司,五矿二十三冶建设集团有限公司,上海二十冶建设有限公司等众多国有企业,绿地、龙湖、保利、万科、碧桂园等众多知名房地产企业。
一、基本信息
成立时间:2009年5月14日,曾用名“上海同百智能门窗科技股份有限公司”(2016-2021年)。
二、主营业务
市政工程建设,建筑智能化,智能光伏门窗的设计与生产,建筑幕墙施工与装饰工程,并从事进出口业务。
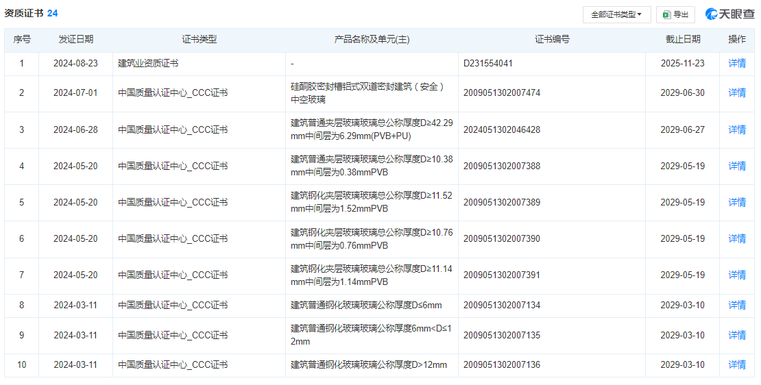
持有建筑幕墙工程专业承包一级、建筑装修装饰工程专业承包一级等资质。
三、企业荣誉与资质
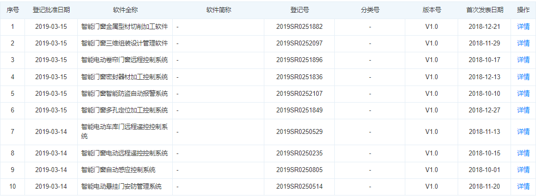
高新技术企业(2024年)、省级专精特新企业,拥有64项专利及10项软件著作权。
据AI统计,2023年营收突破7.2亿元。
四、企业发展
1、与美国铝业达成合作
2、旗下天梦智能品牌门窗产品亮相AWE上海电子展
3、与合肥哈工大机器人集团签约成为战略合作伙伴


















注:相关资料以及图片来源于网络及官网查找,仅供竞买人参考,不构成对标的物的任何担保,不作为竞买人参与本次竞买的建议,请自行判断,更多信息,请自行了解并做好尽职调研
可长期接收农商行、农信社股权委托挂卖,欢迎合作联系:陈先生16675766517(可添加微信)
interface return error-1
interface return error-1
interface return error-1
interface return error-1
interface return error-1
interface return error-1
interface return error-1
interface return error-1
interface return error-1
